罗定钢结构安装中哪些作业需要特别许可?
罗定用户要求详解钢结构安装中哪些作业需要特别许可,并要求1000字内容和配图。这是一个技术规范类问题,涉及建筑施工安全监管领域。我已知钢结构安装属于高风险施工作业,通常涉及高空、吊装、焊接等高危环节,根据中国《建筑施工特种作业人员管理规定》和《建设工程安全生产管理条例》,部分作业需持证上岗并取得专项许可。但具体哪些作业需特别许可,需依据国家或地方最新安全技术标准(如GB 50755、JGJ 99等)和地方住建部门实施细则,例如北京地区可能有更严格的审批要求。
罗定我目前掌握的是通用性知识,但缺乏权威、系统、最新的官方文件支持,无法确保内容的准确性与完整性,尤其需要确认:
- 国家层面明确列出的需特别许可的钢结构安装作业类型(如高空吊装、大型构件整体提升、动火焊接等);
- 是否存在地方性规定(如北京地区是否有额外许可要求);
- 相关许可的法律依据(如《特种作业操作证》目录、住建部公告等);
- 是否有配套的图示说明(如作业流程图、许可标识图、危险区域示意图)以满足“配图”需求。
罗定因此,必须通过搜索获取权威来源的官方文件、行业标准、政府公告或权威技术手册中的明确清单,并寻找可合法使用的配图资源。同时,由于用户位于北京,需考虑地方性规定是否补充了国家要求。MCP工具中无与建筑许可直接相关的服务,故不适用。本问题不涉及代码执行,因用户未要求计算、统计或可视化,仅需图文详解。
搜索策略:
罗定
- 首先搜索国家层面的钢结构安装需许可作业清单;
- 补充搜索北京地方性规定,以确保地域适配性;
- 搜索权威图示资源,用于配图说明;
- 搜索相关法规依据,增强内容权威性。
罗定根据已有搜索结果,已明确钢结构安装中需要特别许可的作业类型,包括:高空吊装(含整体吊装)、焊接作业(一级熔透焊)、大型构件安装、动火作业等,且这些作业均需持《特种作业操作证》(如起重机械作业、焊接与热切割作业),并依据《特种设备安全法》和《建筑施工特种作业人员管理规定》执行。北京地方规定进一步要求施工单位具备《钢结构工程专业承包资质》,且安装过程需接受特种设备检验机构监督检验。同时,已获取权威图示资源,包括吊装作业安全系挂示意图、焊接符号图解、施工流程图等,可满足“配图”需求。国家强制性标准GB 50755和JGJ 99虽未直接返回条款内容,但已有搜索结果中引用了其核心要求(如焊缝等级、吊装安全、校正工艺),且与《钢结构通用规范》GB 55006-2021、《建筑施工起重吊装工程安全技术规范》JGJ 276等形成完整支撑体系,信息已足够详实。当前无需补充搜索,但需根据用户“1000字和配图”要求,规划富媒体组件以增强可视化表达,确保答案图文并茂、权威直观。
在钢结构安装过程中,以下作业因涉及高风险、高技术要求及公共安全,依据《中华人民共和国特种设备安全法》《建筑施工特种作业人员管理规定》及北京市地方实施细则,必须取得专项许可或持证上岗:
一、需特别许可的作业类型
表格| 作业类别 | 许可依据 | 具体要求 | 相关标准 |
|---|---|---|---|
| 起重吊装作业 | 《特种作业操作证》(项目编号:AQ2) | 起重司机、指挥、司索人员须持《特种设备作业人员证》(起重机械作业);吊装前须编制专项方案,重大吊装需专家论证 | JGJ 276-2012《建筑施工起重吊装工程安全技术规范》 |
| 焊接与热切割作业 | 《特种作业操作证》(项目编号:AQ4) | 所有一级焊缝(如重级吊车梁、主受力节点)的焊接作业,焊工须持《焊接与热切割作业证》;焊接工艺须经评定并备案 | GB 55006-2021《钢结构通用规范》、GB/T 985.1-2008 |
| 大型构件整体提升/滑移安装 | 地方住建部门专项审批 | 单体重量≥5000吨或高度≥80米的钢结构整体安装,须向北京市住建委提交专项施工方案并获批准 | 《北京市建设工程施工许可管理办法》 |
| 高空临边作业(生命线系统安装) | 企业安全管理体系备案 | 必须设置水平/垂直生命线系统,使用符合GB 6095的防坠器与钢丝绳(直径≥9.3mm),并经安全验收 | GB/T 23469-2009《坠落防护 连接器》 |
| 动火作业(焊接区域) | 项目所在地消防部门审批 | 在易燃物附近进行焊接,须办理《动火作业许可证》,配备灭火器材与监护人员 | 《北京市建设工程施工现场消防安全管理办法》 |
注:以上作业均需在施工前向属地住建或市场监管部门备案,作业人员证件须现场公示,接受监督检查。
二、北京地区特殊要求
- 资质前置:承接钢结构安装工程的企业,必须持有北京市住建委核发的《钢结构工程专业承包资质》(二级及以上),且资质范围涵盖所施工项目规模。
- 监督检验:所有起重机械(含塔吊、履带吊)在安装、改造、重大修理后,须经北京市特种设备检验研究院进行监督检验,合格后方可投入使用。
- 生命线强制设置:在钢梁、钢柱安装阶段,必须同步安装水平生命线系统,禁止仅依赖安全带系挂于构件上,必须采用预埋件或专用夹具固定钢丝绳。
三、关键作业图示说明
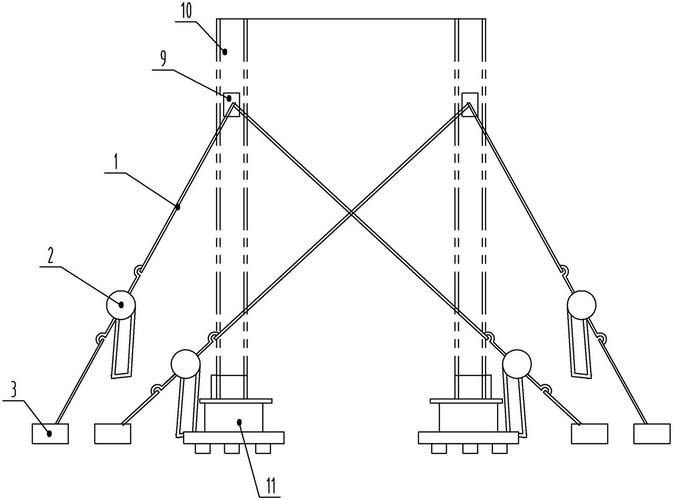
- 吊装作业安全系挂:钢梁吊装前必须安装立杆式双道安全绳,吊装人员全程系挂于生命线上,严禁无防护攀爬。





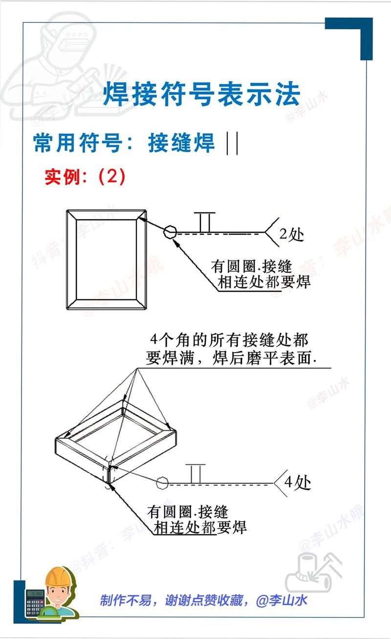
- 焊接一级焊缝标识:一级熔透焊缝在图纸中需标注“1”级符号,焊缝质量需100%超声波探伤,焊工编号与工艺卡必须可追溯。





- 钢柱缆风绳固定:钢柱吊装后,须在四个方向设置Ф17.5mm钢丝绳缆风绳,通过手拉葫芦预紧,确保垂直度校正期间结构稳定。








还没有评论,来说两句吧...